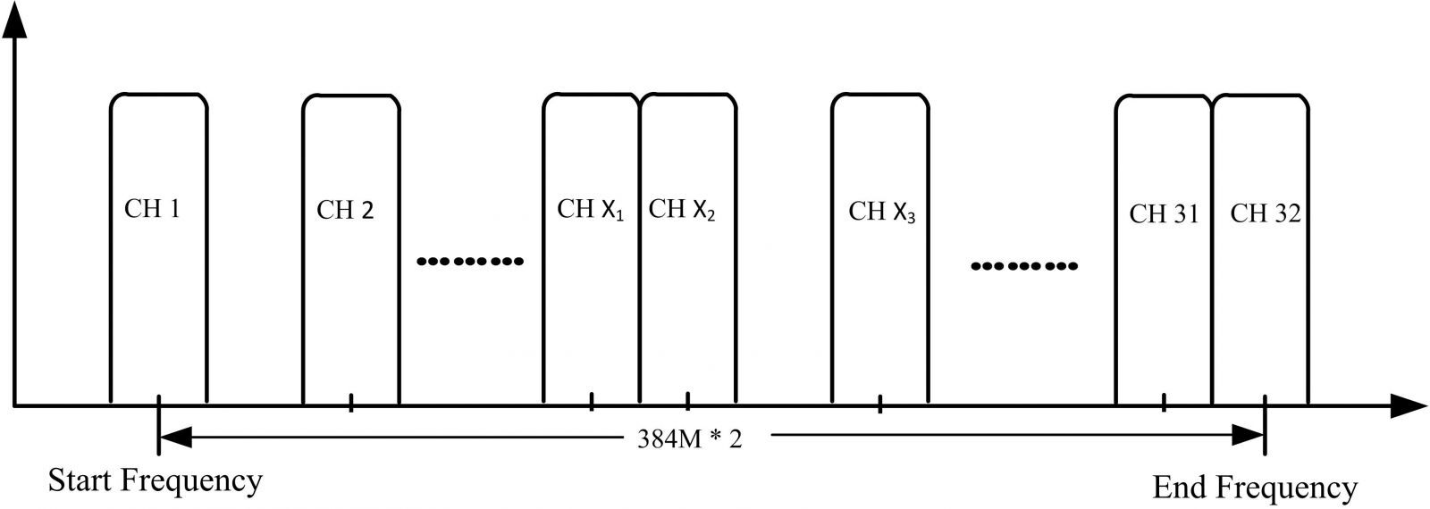
Modulatorul NDS3332 IP QAM este un dispozitiv multifuncțional cu modulație Mux-scrambling, dezvoltat de DEXIN. Are 32 de canale de multiplexare, 32 de canale de scrambling și 32 de canale de modulație QAM (DVB-C) și suportă o intrare IP maximă de 1024 prin portul GE și 32 de purtătoare neadiacente (50MHz~960MHz) prin interfața de ieșire RF. Dispozitivul este caracterizat prin porturi de ieșire RF duale care lărgesc lățimea de bandă pentru purtătoarele QAM.

Descarca

Fisa Tehnica

11,500.00 RON

DEXIN NDS3332 32 in 1 IP QAM Modulator (2 iesiri RF)

*  2 GE input, Data1 and Data2 (SFP interface optional)

*  Supports up to 1024 IP input through GE1 & GE2 over UDP/RTP

*  Max 840Mbps for each GE input

*  Supports accurate PCR adjusting, CA PID filtering, PID remapping and PSI/SI editing

*  Supports up to 256 PID remapping per channel

*  Support DVB general scrambling system (ETR289), simulcrypt standards ETSI 101 197 and  ETSI 103 197

*  Support 32 multiplexed or scrambled IP out over UDP/RTP/RTSP

*  32 non-adjacent QAM carriers output with 2 RF ports, compliant to DVB-C (EN 300 429) and ITU-T J.83 A/B

*  Supports RS (204,188) encoding

*  Support Web-based Network management

Adresă

Soseaua Barnova 29i, Iasi, Romania, C.P.700284

Sunați-ne

+40722666943 +40721186111

Scrieți-ne